您好!国红(深圳)光电欢迎您
服务热线: 0755-27369780
 
 
首页  >  新闻动态  >   公司新闻
食品检测应用
作者:国红光电    发布时间:2019-01-10

提供一种能够简便地计算卡路里或者成分重量的食品分析产品。食品分析产品(1) 具有发光部(21)、受光部(22) 以及控制部(60)。发光部(21) 向分析对象物(S) 照射包括700nm 1100nm的波长中的至少一部分波长的光。受光部(22) 接收从分析对象物(S) 反射的光。控制部(60) 计算由受光部(22) 接收到的光的吸光度,基于吸光度与卡路里的相关关系以及运算出的吸光度来计算分析对象物(S) 的卡路里等参数。

1.一种食品分析装置,具备:发光部,其向分析对象物照射包括700nm 1100nm 的波长中的至少一部分波长的光的光;受光部,其接收从上述分析对象物反射的光和透过上述分析对象物的光中的至少一方;

运算部,其运算由上述受光部接收到的光的吸光量;以及分析部,其实施以下动作中的一方:基于吸光量与卡路里的相关关系以及由上述运算部运算出的吸光量来计算上述分析对象物的卡路里;以及基于上述吸光量与食品的成分量

的相关关系以及由上述运算部运算出的吸光量来计算上述分析对象物的成分量。

2.根据权利要求1 所述的食品分析装置,其特征在于,

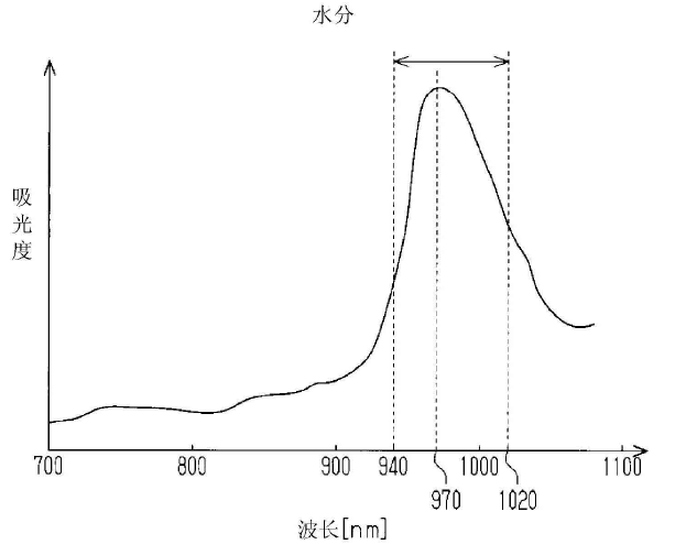
上述运算部运算由上述受光部接收到的光中的特定波长的光的吸光量,

上述特定波长处于940nm 1020nm910nm 940nm890nm 930nm970nm 1000nm1000nm 1030nm1030nm 1060nm740nm 770nm1010nm 1060nm 以及890nm 950nm中的至少一个波长范围内。


地址:深圳市宝安区福永街道福海B3区智美汇志产业园B5/3A01
电话:13265689146    粤ICP备18127970号
邮箱:ghofficial@yeah.net